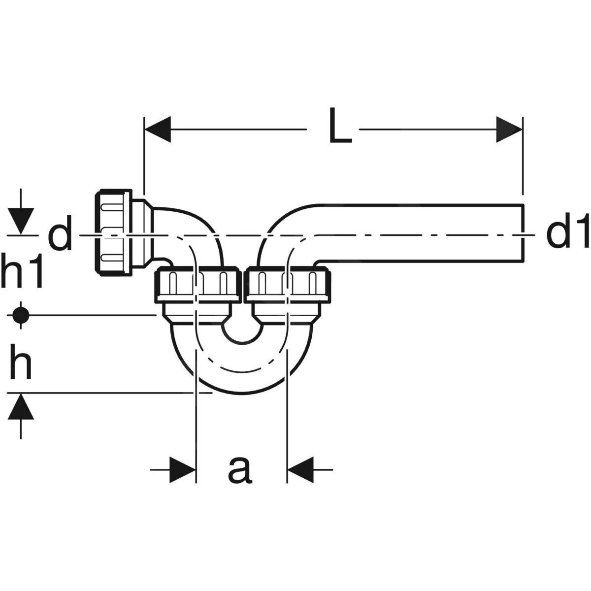
Sifón para fregadero, con tornillos
- entrada/salida horizontal
- capacidad de caudal: 0,84 l/s
- altura de cierre de agua 75 mm
- material PE-HD
- codo de conexión con tuerca de manguito
- dimensiones: d = 50 mm, d1 = 56 mm
- L = 200-350 mm
- h = 65 mm, h1 = 80 mm
- DN 50/56














Valoraciones
No hay valoraciones aún.